刮板機用可伸縮式機尾設計技術及要求
技術實現要素:
有鑒于此,針對上述不足,有必要提出一種能始終保證刮板機鏈條平進平出,避免板鏈條故障的配倉刮板輸送機用可伸縮式機尾。
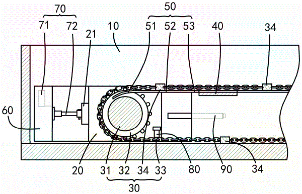
一種配倉刮板輸送機用可伸縮式機尾,包括固定槽、軸承座、鏈輪軸組、固定架、活動襯板、固定座、張鏈裝置,所述鏈輪軸組包括鏈輪主軸、鏈輪本體、刮板機鏈條、刮板本體,固定槽的內腔兩側分別設置有凹槽狀的軌道,鏈輪主軸的兩端分別與一個軸承座轉動連接,在軸承座的底部設置有與上述凹槽狀的軌道相匹配的突出部,所述軸承座滑動安裝于軌道上,以使軸承座沿軌道左右移動,鏈輪主軸的兩端各安裝有一個鏈輪本體,兩側的鏈輪本體上均環繞有刮板機鏈條,兩個刮板機鏈條之間安裝有相互平行的刮板本體,刮板機鏈條包括上鏈條段、下鏈條段,在固定槽內側的上部安裝有固定架,固定架的右端與過渡槽的中板的左端連接,固定架的上表面與中板的上表面平齊,用于支持上鏈條段以及安裝于上鏈條段上的刮板本體的運行,固定槽底面用于支撐下鏈條段以及安裝于下鏈條段上的刮板本體,固定槽兩側的軸承座上均安裝有活動襯板,活動襯板包括依次相連的弧形段、中間段、連接段,弧形段為自由端,連接段的右端與固定架的左端可活動卡合連接,活動襯板沿刮板機鏈條運行方向布置,弧形段的上表面形狀與鏈輪本體齒根位置圓周形狀相應,用于支撐安裝于上鏈條段上的刮板本體的運行,中間段、連接段的上表面水平設置,并與固定架的上表面平齊,中間段、連接段用于支撐上鏈條段以及安裝于上鏈條段上的刮板本體的運行,連接段右端部為U形,連接段包括兩個卡合端,與兩個卡合端相應位置的固定架上設置有兩個卡合槽,活動襯板左右移動,卡合端在卡合槽內左右移動,在固定槽的左端固定安裝有固定座,在固定座上安裝有張鏈裝置,在軸承上安裝有拉移耳座,張鏈裝置的伸縮端與拉移耳座鉸接,以通過張鏈裝置驅動相應位置的軸承座沿固定槽的軌道左右移動。
優選的,所述刮板機鏈條與鏈輪本體的圍包角等于180°。
優選的,在軸承座上固定安裝有撥鏈器,撥鏈器靠近鏈輪本體設置,并安裝于刮板機鏈條的下鏈條段。
優選的,所述軸承座為上下剖分式結構。
優選的,在固定槽的左端安裝有絲杠組件,絲杠組件向左端延伸或向右端收縮,以為鎖定或解鎖軸承座與固定槽的相對位置。
優選的,在軸承座的底部設有定位孔,在定位孔相應位置的固定槽上還安裝有鎖緊螺栓,鎖緊螺栓與定位孔可拆卸連接。
優選的,在固定槽的上還安裝有防護鏈,防護鏈的一端與固定槽連接,防護鏈的一端與刮板機鏈條可拆卸栓接。
優選的,所述配倉刮板輸送機用可伸縮式機尾還包括控制器、潤滑機構,在軸承座還設有用于檢測軸承座內軸承溫度的溫度傳感器,所述溫度傳感器與控制器連接,控制器與潤滑機構與連接。
優選的,所述張鏈裝置為渦輪蝸桿絲杠結構。
優選的,所述張鏈裝置包括泵站、張緊油缸,所述泵站用于驅動張緊油缸伸縮,所述張緊油缸的固定端固定于固定座上,張緊油缸的伸縮端與拉移耳座鉸接。
本技術方案的有益效果在于:
第一,安裝于軸承座上的活動襯板可以在鏈輪軸組移動的過程中保持刮板機鏈條鏈道完整、連續,保證了刮板機鏈條的正常運行;
第二,活動襯板能使得刮板機鏈條的上鏈條段和上鏈條段始終保持水平,刮板機鏈條的上鏈條段和下鏈條段始終保持處于平進平出的狀態,刮板機鏈條與鏈輪本體的嚙合輪齒保持不變,避免兩鏈輪本體受力不均衡而導致輪齒、軸承、刮板機鏈條頻繁損壞的問題;
第三,活動襯板安裝于軸承座上,形成整體,在移動過程中,活動襯板與鏈輪本體的間隙始終保持不變,刮板機鏈條的上鏈條段和下鏈條段始終保持處于平進平出的狀態,可防止大塊煤、矸石等異物夾雜在刮板機鏈條與鏈輪本體之間造成鏈條脫鏈等事故。
附圖說明

圖中:固定槽10、軸承座20、拉移耳座21、鏈輪軸組30、鏈輪主軸31、鏈輪本體32、刮板機鏈條33、刮板本體34、固定架40、卡合槽41、活動襯板50、弧形段51、中間段52、連接段53、卡合端531、固定座60、張鏈裝置70、泵站71、張緊油缸72、撥鏈器80、絲杠組件90、鎖緊螺栓100、防護鏈110。
具體實施方式
為了更清楚地說明本技術實施例的技術方案,下面將對實施例中所需要使用的附圖作簡單的介紹,顯而易見地,下面描述中的附圖是本技術的一些實施例,對于本領域普通技術人員來講,在不付出創造性勞動的前提下,還可以根據這些附圖獲得其他的附圖。
參見圖1至圖3,本技術實施例提供了一種配倉刮板輸送機用可伸縮式機尾,包括固定槽10、軸承座20、鏈輪軸組30、固定架40、活動襯板50、固定座60、張鏈裝置70,鏈輪軸組30包括鏈輪主軸31、鏈輪本體32、刮板機鏈條33、刮板本體34,固定槽10的內腔兩側分別設置有凹槽狀的軌道,鏈輪主軸31的兩端分別與一個軸承座20轉動連接,在軸承座20的底部設置有與上述凹槽狀的軌道相匹配的突出部,軸承座20滑動安裝于軌道上,以使軸承座20沿軌道左右移動,鏈輪主軸31的兩端各安裝有一個鏈輪本體32,兩側的鏈輪本體32上均環繞有刮板機鏈條33,兩個刮板機鏈條33之間安裝有相互平行的刮板本體34,刮板機鏈條33包括上鏈條段、下鏈條段,在固定槽10內側的上部安裝有固定架40,固定架40的右端與過渡槽的中板的左端連接,固定架40的上表面與中板的上表面平齊,用于支持上鏈條段以及安裝于上鏈條段上的刮板本體34的運行,固定槽10底面用于支撐下鏈條段以及安裝于下鏈條段上的刮板本體34,固定槽10兩側的軸承座20上均安裝有活動襯板50,活動襯板50包括依次相連的弧形段51、中間段52、連接段53,弧形段51為自由端,連接段53的右端與固定架40的左端可活動卡合連接,活動襯板50沿刮板機鏈條33運行方向布置,弧形段51的上表面形狀與鏈輪本體32齒根位置圓周形狀相應,用于支撐安裝于上鏈條段上的刮板本體34的運行,中間段52、連接段53的上表面水平設置,并與固定架40的上表面平齊,中間段52、連接段53用于支撐上鏈條段以及安裝于上鏈條段上的刮板本體34的運行,連接段53右端部為U形,連接段53包括兩個卡合端531,與兩個卡合端531相應位置的固定架40上設置有兩個卡合槽41,活動襯板50左右移動,卡合端531在卡合槽41內左右移動,在固定槽10的左端固定安裝有固定座60,在固定座60上安裝有張鏈裝置70,在軸承上安裝有拉移耳座21,張鏈裝置70的伸縮端與拉移耳座21鉸接,以通過張鏈裝置70驅動相應位置的軸承座20沿固定槽10的軌道左右移動。
本技術方案的有益效果在于:
第一,安裝于軸承座20上的活動襯板50可以在鏈輪軸組30移動的過程中保持刮板機鏈條33鏈道完整、連續,保證了刮板機鏈條33的正常運行;
第二,活動襯板50能使得刮板機鏈條33的上鏈條段和上鏈條段始終保持水平,刮板機鏈條33的上鏈條段和下鏈條段始終保持處于平進平出的狀態,刮板機鏈條33與鏈輪本體32的嚙合輪齒保持不變,避免兩鏈輪本體32受力不均衡而導致輪齒、軸承、刮板機鏈條33頻繁損壞的問題;
第三,活動襯板50安裝于軸承座20上,形成整體,在移動過程中,活動襯板50與鏈輪本體32的間隙始終保持不變,刮板機鏈條33的上鏈條段和下鏈條段始終保持處于平進平出的狀態,可防止大塊煤、矸石等異物夾雜在刮板機鏈條33與鏈輪本體32之間造成鏈條脫鏈等事故。
技術特征:
1.一種配倉刮板輸送機用可伸縮式機尾,其特征在于:包括固定槽、軸承座、鏈輪軸組、固定架、活動襯板、固定座、張鏈裝置,所述鏈輪軸組包括鏈輪主軸、鏈輪本體、刮板機鏈條、刮板本體,固定槽的內腔兩側分別設置有凹槽狀的軌道,鏈輪主軸的兩端分別與一個軸承座轉動連接,在軸承座的底部設置有與上述凹槽狀的軌道相匹配的突出部,所述軸承座滑動安裝于軌道上,以使軸承座沿軌道左右移動,鏈輪主軸的兩端各安裝有一個鏈輪本體,兩側的鏈輪本體上均環繞有刮板機鏈條,兩個刮板機鏈條之間安裝有相互平行的刮板本體,刮板機鏈條包括上鏈條段、下鏈條段,在固定槽內側的上部安裝有固定架,固定架的右端與過渡槽的中板的左端連接,固定架的上表面與中板的上表面平齊,用于支持上鏈條段以及安裝于上鏈條段上的刮板本體的運行,固定槽底面用于支撐下鏈條段以及安裝于下鏈條段上的刮板本體,固定槽兩側的軸承座上均安裝有活動襯板,活動襯板包括依次相連的弧形段、中間段、連接段,弧形段為自由端,連接段的右端與固定架的左端可活動卡合連接,活動襯板沿刮板機鏈條運行方向布置,弧形段的上表面形狀與鏈輪本體齒根位置圓周形狀相應,用于支撐安裝于上鏈條段上的刮板本體的運行,中間段、連接段的上表面水平設置,并與固定架的上表面平齊,中間段、連接段用于支撐上鏈條段以及安裝于上鏈條段上的刮板本體的運行,連接段右端部為U形,連接段包括兩個卡合端,與兩個卡合端相應位置的固定架上設置有兩個卡合槽,活動襯板左右移動,卡合端在卡合槽內左右移動,在固定槽的左端固定安裝有固定座,在固定座上安裝有張鏈裝置,在軸承上安裝有拉移耳座,張鏈裝置的伸縮端與拉移耳座鉸接,以通過張鏈裝置驅動相應位置的軸承座沿固定槽的軌道左右移動。
2.如實用要求所述的配倉刮板輸送機用可伸縮式機尾,其特征在于:所述刮板機鏈條與鏈輪本體的圍包角等于180°。
3.如實用要求所述的配倉刮板輸送機用可伸縮式機尾,其特征在于:在軸承座上固定安裝有撥鏈器,撥鏈器靠近鏈輪本體設置,并安裝于刮板機鏈條的下鏈條段。
4.如實用要求所述的配倉刮板輸送機用可伸縮式機尾,其特征在于:所述軸承座為上下剖分式結構。
5.如實用要求所述的配倉刮板輸送機用可伸縮式機尾,其特征在于:在固定槽的左端安裝有絲杠組件,絲杠組件向左端延伸或向右端收縮,以為鎖定或解鎖軸承座與固定槽的相對位置。
6.如實用要求所述的配倉刮板輸送機用可伸縮式機尾,其特征在于:在軸承座的底部設有定位孔,在定位孔相應位置的固定槽上還安裝有鎖緊螺栓,鎖緊螺栓與定位孔可拆卸連接。
7.如實用要求所述的配倉刮板輸送機用可伸縮式機尾,其特征在于:在固定槽的上還安裝有防護鏈,防護鏈的一端與固定槽連接,防護鏈的一端與刮板機鏈條可拆卸栓接。
8.如實用要求所述的配倉刮板輸送機用可伸縮式機尾,其特征在于:所述配倉刮板輸送機用可伸縮式機尾還包括控制器、潤滑機構,在軸承座還設有用于檢測軸承座內軸承溫度的溫度傳感器,所述溫度傳感器與控制器連接,控制器與潤滑機構與連接。
9.如實用要求所述的配倉刮板輸送機用可伸縮式機尾,其特征在于:所述張鏈裝置為渦輪蝸桿絲杠結構。
10.如實用要求所述的配倉刮板輸送機用可伸縮式機尾,其特征在于:所述張鏈裝置包括泵站、張緊油缸,所述泵站用于驅動張緊油缸伸縮,所述張緊油缸的固定端固定于固定座上,張緊油缸的伸縮端與拉移耳座鉸接。
技術總結
一種配倉刮板輸送機用可伸縮式機尾,包括鏈輪軸組、活動襯板、固定架、軸承座,活動襯板包括依次相連的弧形段、中間段、連接段,中間段、連接段的上表面水平設置,連接段包括兩個卡合端,固定架上設置有兩個卡合槽,本技術方案的有益效果在于:第一,安裝于軸承座上的活動襯板可以在鏈輪軸組移動的過程中保持刮板機鏈條鏈道完整、連續;第二,活動襯板能使得刮板機鏈條的上鏈條段和上鏈條段始終保持水平,避免兩鏈輪本體受力不均衡而導致輪齒、軸承、刮板機鏈條損壞的問題;第三,活動襯板安裝于軸承座上,形成整體,刮板機鏈條的上鏈條段和下鏈條段始終處于平進平出的狀態,可防止大塊煤、矸石等異物夾雜在刮板機鏈條與鏈輪本體之間造成鏈條脫鏈等事故。
下一篇:[新聞資訊]